Характеристики
Бренд
EVOLUCE
Серия
Ancora
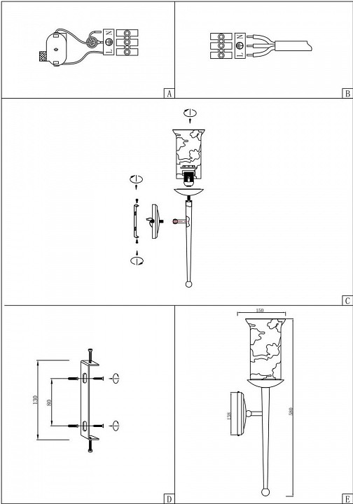
Высота, мм
500
Материал арматуры
металл
Цвет арматуры
коричневый
Ширина, мм
120
Диапазон рабочих температур
+1-[+35]
Тип лампы
накаливания ИЛИ светодиодная [LED]
Размеры, мм
120x500x180
Максимальная мощность лампы, Вт
60
Наименование на Яндексе
Бра
Запись типов
Настенные светильники,Бра
Возможность подключения диммера
можно, если установить лампу накаливания
Общее кол-во ламп
1
Лампы в комплекте
отсутствуют
Цвет плафонов и подвесок
янтарный
Поверхность плафонов и подвесок
матовый
Поверхность арматуры
матовый
Материал плафонов и подвесок
стекло
Класс электробезопасности
I
Степень пылевлагозащиты, IP
20
Односерийные
EVO_SL122.301.01,EVO_SL122.303.03,EVO_SL122.303.06,EVO_SL122.303.08,EVO_SL122.311.01
Стиль
модерн
Тип цоколя лампы
E27
Напряжение питания лампы, В
220
Основной цвет
разноцветная
Дополнительные параметры
светильник предназначен для использования со скрытой проводкой
Место размещения
Стена
Помещение
Гостиная,Кабинет,Спальня
Гарантия, месяцы
24
Способ крепления к поверхности
на монтажной пластине
Дополнительная запись типов
Типы/Бра И Подсветки/С 1 Плафоном
Тип лампы основной
накаливания
Тип цоколя лампы основной
E27
Основное помещение
Гостиная
Окончание акции
бессрочно
Активность
true
Штрих-код
4620765335498
Кратность товара
1.0000
Фото максимального размера
https://www.dekomo.ru/photo_max/EVO_SL122.311.01.jpg
Детальное фото максимального размера 1
https://www.dekomo.ru/photo1_krop_max/EVO_SL122.311.01.jpg
Детальное фото максимального размера 2
https://www.dekomo.ru/photo2_krop_max/EVO_SL122.311.01.jpg
Детальное фото максимального размера 3
https://www.dekomo.ru/photo3_krop_max/EVO_SL122.311.01.jpg
Дополнительное фото максимального размера
https://www.dekomo.ru/photo_ext1_max/EVO_SL122.311.01.jpg
Количество плафонов
1
Форма плафонов
цилиндр круглый
Направление плафонов
вверх
Дополнительное фото максимального размера 2
https://www.dekomo.ru/photo_ext2_max/EVO_SL122.311.01.jpg
Схематичное фото максимального размера
https://www.dekomo.ru/photo_schm_max/EVO_SL122.311.01.jpg
Размер упаковки, мм
430x230x170
Объем упаковки, куб. м
0.017
Масса брутто, кг
1
Выступ, мм
180
Отзывы
Отзывов еще никто не оставлял
